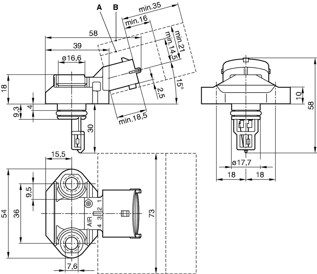
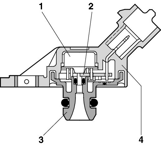
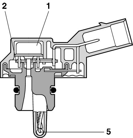
INTAKE PRESSURE SENSOR BOSCH MERC
Product Code:
0 281 002 244
Your Dynamic Snippet will be displayed here...
This message is displayed because youy did not provide both a filter and a template to use.

















